6  Setup — Screening station

This chapter describes how to set up a FLIR EST Kiosk screening station.

6.1  Screening station setup

The figure below shows a typical screening station setup. For more information, see chapter 7 Description — Screening station .
Graphic
    Additional, not in the figure:
  • Optional: Operator display.
    Secondary display placed near the operator for monitoring.
  • Optional: Information roll-up.
    Roll-up that informs people what the screening is about and why they need to do it.
  • Optional: Instruction roll-up.
    Roll-up that tells people to remove eyeglasses before they are screened.

6.2  Equipment, materials, tools

    For the screening station, you need the following equipment:
  • FLIR EST Kiosk, installed as described in chapter 5 Installation — FLIR EST Kiosk‎ .
  • Screening position floor sticker (included in the FLIR EST Kiosk package).
  • Queueing system; e.g. barriers, arrow stickers.
    Optional equipment:
  • Operator display, including power cable and wireless display adapter.
  • Backdrop, preventing background disturbances.
  • Information materials; e.g. roll-ups.
    The following materials and tools can be useful:
  • Measuring tape or yardstick.
  • Screwdriver.
  • Masking tape.
  • Cable ties.
  • Extension cords.
  • Cable covers (to prevent people from stumbling over the cables).
Graphic

Figure 6.1  FLIR EST Kiosk‎

Graphic

Figure 6.2  Screening position floor sticker

Graphic

Figure 6.3  Backdrop

6.3  Step-by-step setup instructions

Before starting the setup, please read the instructions for the entire setup procedure.
Make sure you have all the equipment and tools needed, see section 6.2 Equipment, materials, tools .

6.3.1  Plan and prepare the screening station

Before you set up the screening station, you need to do some planning. Where will you conduct the screening? How should the visitors flow into the screening station and out? Who will be the operator? What should happen in case of a screening alarm?

6.3.2  Set up the FLIR EST Kiosk‎

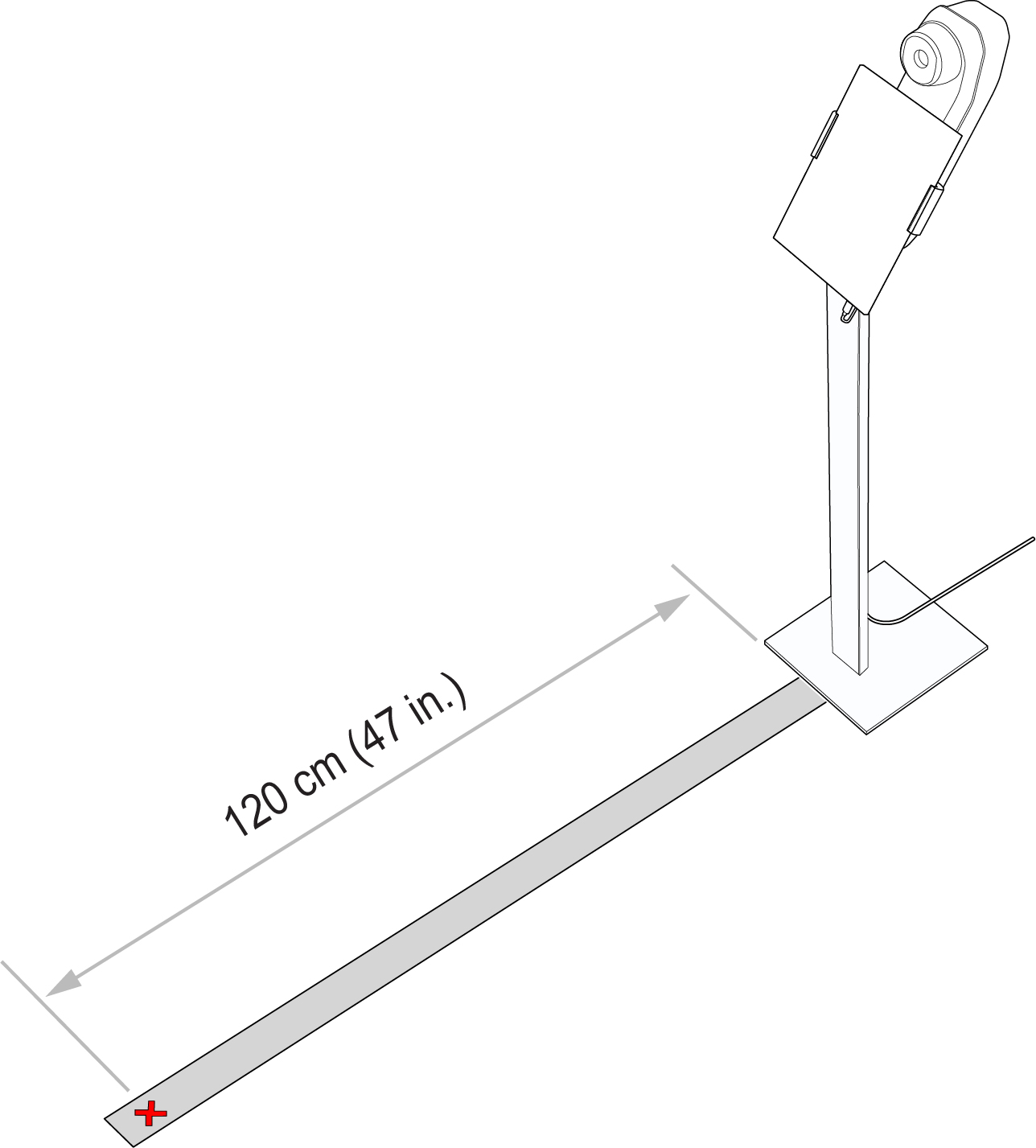
6.3.3  Define the screening position

Graphic

6.3.4  Connect the camera to FLIR Screen-EST‎

6.3.5  Make sure the camera focus is correct

6.3.6  Place the queueing system and supporting materials

6.3.7  Optional: Place the operator display

6.3.8  Test the setup

Make sure the system detects faces of persons with different heights.

6.3.9  Clearly mark the screening position

Graphic

6.3.10  Mark the positions of all equipment

Mark the positions of any movable equipment (e.g. FLIR EST Kiosk, backdrop, barrier poles) e.g. by tape on the floor. This to ensure that everything is put back in the right place after e.g. cleaning of the floor.

6.4  Optional: Customize FLIR Screen-EST‎

It is possible to run FLIR Screen-EST with the default settings. It is also possible to customize FLIR Screen-EST according to your company policies (see section 7.4 Company policies ). You can select what the visitors see on the screen. There is also a sound alarm option.

6.4.1  Open the Settings page

6.4.2  Visitor window

You customize the visitor window on the User screen tab.
    Custom status messages
  • Here you can change the status messages, e.g. translate the messages to your local language.
    Message font size
  • Select the font size for the status messages.
    Visibility settings
  • Select the Show secondary image check box to display both thermal and visual video.
  • Use the Show hats/glasses/masks check boxes to select what symbols to display.
  • Select the Enable animations check box to have a moving blue line in the visitor window, indicating that the system is in operation.
  • Use the Swap video streams check box to select the display of thermal or visual video.
Graphic

6.4.3  Sound alarm

It is possible to have a sound when the system detects an elevated temperature. You select this on the Output tab.
    Alarm
  • Select the Use sound alarm check box to have a sound when an elevated temperature is detected.

6.4.4  Save and exit

When all settings are completed, tap Close at the bottom right of the page. This closes the Settings page.

6.5  Settings for 24/7 operation

If you plan to run the screening station 24/7 without any operator interaction, you may want to enable some automatic functions.

6.5.1  Automatic reset of moving average

If there has been a long time since the last screening, the moving average may not be at the correct level and there is a risk for false negatives. One way of limiting this risk is to reset the moving average, manually or automatically. The system will then start to build up a new moving average. For more information, see section 10.4.3.1 Reset of moving average .
After an automatic reset of the moving average, the system will evaluate also the first screened person (which is not the case after a manual reset). Since there is no average to compare with after the reset, a fixed temperature value will be used for the evaluation of the first person.
The default fixed temperature value can be used as a starting point. However, the appropriate value depends on factors such as environmental conditions and time of day. It is recommended to establish a fixed temperature value adapted to your local conditions.

6.5.1.1  Establish fixed temperature value

The fixed temperature value can be established by checking the measured temperatures in FLIR Screen-EST at the same time for three days in a row and then use the highest of these temperatures.

6.5.1.2  Enable automatic reset

6.5.2  Automatic restart of screening

Windows devices are sometimes forced to restart, for example after a Windows update, which also closes all applications. The device may also shut down completely if the battery level is very low. By a setting, you can ensure that FLIR Screen-EST starts up automatically when the device restarts.
There is also a setting that will make FLIR Screen-EST restart automatically after an unexpected crash or if the application is not responding.
FLIR Screen-EST stores all settings and states, including the moving average, during an on-going screening session. When an automatic function starts FLIR Screen-EST after an unexpected system restart or application failure, the stored values will be used and the screening can continue without any operator interaction.

6.6  Trouble shooting

6.6.1  Must enter license key every time

If you must enter the license key every time you start FLIR Screen-EST, the application has not been successfully activated.
Follow the instructions in section 5.4 Activate FLIR Screen-EST‎ . When you have entered the license key, make sure you tap the Validate button (not the Demo mode button).
Graphic

6.6.2  FLIR Screen-EST‎ cannot find the camera

6.6.3  False triggering

Persons and objects in the background can cause false triggering. To prevent background disturbances from reaching the camera, it is recommended to place a backdrop behind the screening position.

6.6.4  False alarms

If you are experiencing many false screening alarms, you may need to adjust the Allowed deviation setting on the Face detection tab.
The Allowed deviation is how much the measured temperature can differ from the moving average without triggering an alarm. A higher value will lead to fewer false alarms, but there will also be a risk of missing people with elevated skin temperatures. A lower value will detect smaller elevations in skin temperatures, but it will also generate more false alarms.

6.6.5  Cannot screen short/tall persons

The screening station is set up to screen persons with a height of 145-190 cm (4.8–6.2 ft.).
The screened person shall stand at the screening position (not closer or further away from the camera).
  • Tall persons may have to bend their knees.
  • Short persons may need e.g. a high chair to sit on.
The screening works best when the FLIR Screen-EST is configured for portrait mode. On the Settings page, select the Face detection tab and ensure the following settings:
  • Set Image orientation = Portrait.
  • Set Region of interest: Initial horizontal size = 80,0 and Initial vertical size = 98.0.